
|
|
|
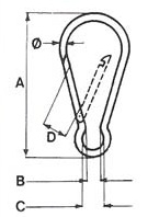
Ø |
5:1 |
MM |
MM |
MM |
MM |
kg/100 |
|
|
||||||||
|
544-011 544-012 |
DC 11 GA S DC 12 GA S |
11 12 |
0,8 0,9 |
120 140 |
12 14 |
19 20 |
15 17 |
19,8 28,5 |
|
|
||||||||
|
545-010 545-011 |
DC 10 SS S DC 11 SS S |
10 11 |
1,1 1,3 |
100 120 |
12 13 |
16 19 |
10 15 |
13,2 19,1 |

|
|
|
Ø |
5:1 |
MM |
MM |
MM |
MM |
kg/100 |
|
|
||||||||
|
542-007 542-008 542-009 542-010 542-011 542-012 |
DC 07 GA DC 08 GA DC 09 GA DC 10 GA DC 11 GA DC 12 GA |
7 8 9 10 11 12 |
0,180 0,230 0,250 0,350 0,450 0,510 |
70 80 90 100 120 140 |
8 9 10 11 12 14 |
11 13 13 16 19 20 |
9 11 11 12 17 21 |
4,4 6,6 9,2 13,0 18,6 25,6 |
|
|
||||||||
|
541-007 541-008 541-010 541-011 541-012 |
DC 07 SS DC 08 SS DC 10 SS DC 11 SS DC 12 SS |
7 8 10 11 12 |
0,230 0,270 0,400 0,550 0,570 |
70 80 100 120 140 |
8 9 12 13 13 |
11 13 16 19 20 |
9 11 12 17 19 |
4,4 6,6 13,0 19,0 25,6 |

|
|
|
Ø |
5:1 |
MM |
MM |
kg/100 |
|
|
||||||
|
540-008 540-010 540-012 |
DC 08 SSA DC 10 SSA DC 12 SSA |
8 10 12 |
0,320 0,500 0,700 |
80 100 120 |
15 20 25 |
7,50 14,00 23,40 |

| <
|
<
Ø |
5:1 |
MM |
MM |
MM |
MM |
|
Rustfri med messingglider Rustfri med messingglider * Rustfri med messingglider |
10 12 10 |
0,100 0,160 0,100 |
116 115 115 |
16 16 16 |
36 36 36 |
22 22 22 |
Leder du efter en af vores andre afdelinger? Tjek dem ud hér:
Copyright 2014 Hvide Sande Vodbinderi ApSAll Rights ReservedSprog: